Nissan X-Trail z napędem e-POWER 2024 Instrukcja obsługi Nissana
8.2.4.2. Resetowanie systemu TPMS
Aby system TPMS działał prawidłowo, należy go zresetować w następujących przypadkach:
po wyregulowaniu ciśnienia w oponie/oponach,
po wymianie opony lub koła,
po przełożeniu kół.
Wykonaj poniższe czynności w celu zresetowania systemu TPMS.
Zaparkuj pojazd w bezpiecznym miejscu na równym podłożu.
Uruchom hamulec postojowy i naciśnij przycisk pozycji P, aby włączyć przełożenie P (parkowanie).
Dostosuj ciśnienie we wszystkich czterech oponach do zalecanego poziomu dla opony zimnej (COLD) podanego na naklejce z informacją o oponach. Użyj miernika ciśnienia w oponach, aby je sprawdzić.
Ustaw włącznik zasilania w pozycji ON.

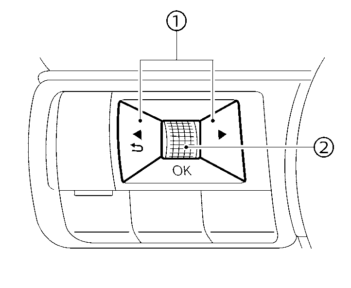
Naciśnij
przycisk (1), aby wyświetlić menu [Ustawienia], a następnie naciśnij pokrętło przewijania (2).Za pomocą pokrętła przewijania (2) wyszukaj pozycję [Ciśnienie w oponach], a następnie naciśnij pokrętło przewijania (2).
Za pomocą pokrętła przewijania (2) wyszukaj pozycję [Kalibracja], a następnie naciśnij pokrętło przewijania (2).
Za pomocą pokrętła przewijania (2) wyszukaj pozycję [Tak], a następnie naciśnij pokrętło przewijania (2), aby zresetować TPMS.
Po zresetowaniu systemu TPMS poprowadź pojazd z prędkością powyżej 25 km/h (16 MPH) przez kilka minut.
Jeśli po zresetowaniu lampka ostrzegawcza niskiego ciśnienia w oponach zaświeci się, może to sygnalizować nieprawidłowe działanie systemu TPMS. Oddaj pojazd do kontroli u dealera firmy NISSAN lub w profesjonalnej stacji obsługi.
Informacje dotyczące lampki ostrzegawczej niskiego ciśnienia w oponach, patrz
.