Nissan X-Trail z napędem e-POWER 2024 Instrukcja obsługi Nissana
5.5.7. Komputer pokładowy


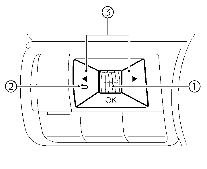
Przełączniki komputera pokładowego znajdują się po lewej stronie kierownicy.
- Pokrętło przewijania pozwala nawigować po pozycjach i zmieniać lub wybierać pozycje na ekranie informacji o pojeździe
- Pokrętło umożliwia nawigację w górę/w dół i oraz zatwierdzanie poprzez naciśnięcie
— powrót do poprzedniego menu
— przejście do kolejnego ekranu wyświetlacza (przebieg okresowy, zużycie paliwa)
Wyświetlane ekrany mogą się różnić w zależności od modelu.
Instrukcja obsługi dla właścicieli Nissana