Nissan X-Trail z napędem e-POWER 2024 Instrukcja obsługi Nissana
5.7.1.3. Pozycja AUTO (automatyczna)
Gdy przełącznik zasilania znajduje się w pozycji ON, a przełącznik reflektorów w pozycji AUTO, reflektory, przednie światła pozycyjne, lampki deski rozdzielczej, oświetlenie tablicy rejestracyjnej oraz światła tylne włączają się automatycznie w zależności od jasności światła otoczenia.
Reflektory włączają się automatycznie po zmroku i podczas deszczu (gdy wycieraczka szyby przedniej działa w sposób ciągły).
Gdy włącznik zasilania zostaje ustawiony w pozycji OFF, światła wyłączają się automatycznie.


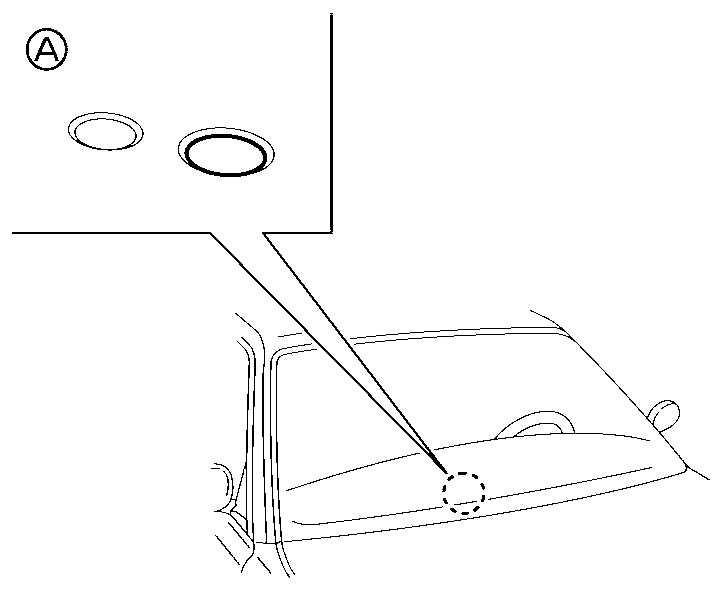
Nie umieszczaj żadnych przedmiotów na czujniku (A). Czujnik wykrywa poziom jasności światła otoczenia i steruje funkcją Intelligent Auto Headlight. Gdy czujnik zostanie zakryty, zareaguje tak, jakby było ciemno i włączą się reflektory.
Układ przedstawiony na rysunku dotyczy modeli z kierownicą po lewej stronie (LHD). W modelach z kierownicą po prawej stronie (RHD) czujnik znajduje się po przeciwnej stronie.