Nissan X-Trail z napędem e-POWER 2024 Instrukcja obsługi Nissana
8.19.1. Przełączniki ProPILOT Assist

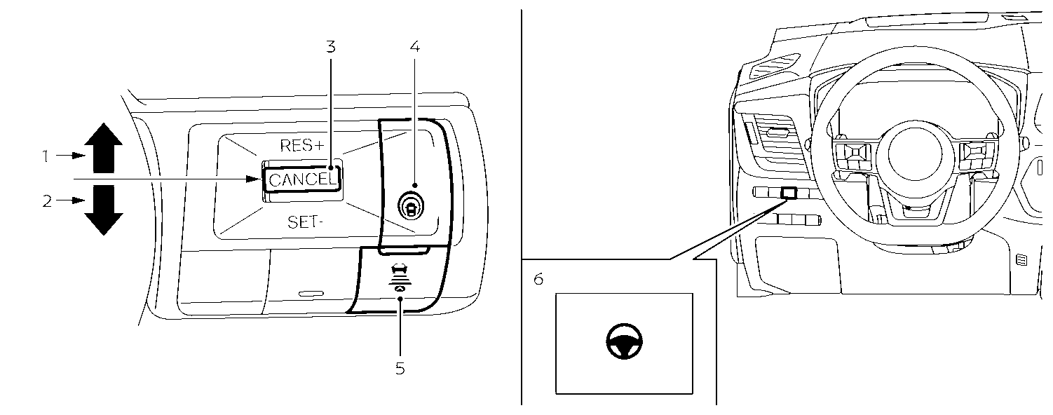
Działanie przycisku RES+:
Wznawia ustawioną prędkość lub stopniowo zwiększa prędkość
Działanie przycisku SET-:
Pozwala ustawić żądaną prędkość jazdy lub stopniowo zmniejszyć prędkość.
<CANCEL> :
Wyłącza system ProPILOT Assist, nie kasując ustawionej prędkości
Przełącznik ProPILOT Assist:
Pozwala włączać i wyłączać system ProPILOT Assist
Przełącznik DISTANCE (ODLEGŁOŚĆ):
[Daleko]
[Średnia]
[Blisko]
Przełącznik asystenta kierowania:
Pozwala włączać i wyłączać funkcję asystenta kierowania.
Instrukcja obsługi dla właścicieli Nissana