Nissan X-Trail z napędem e-POWER 2024 Instrukcja obsługi Nissana
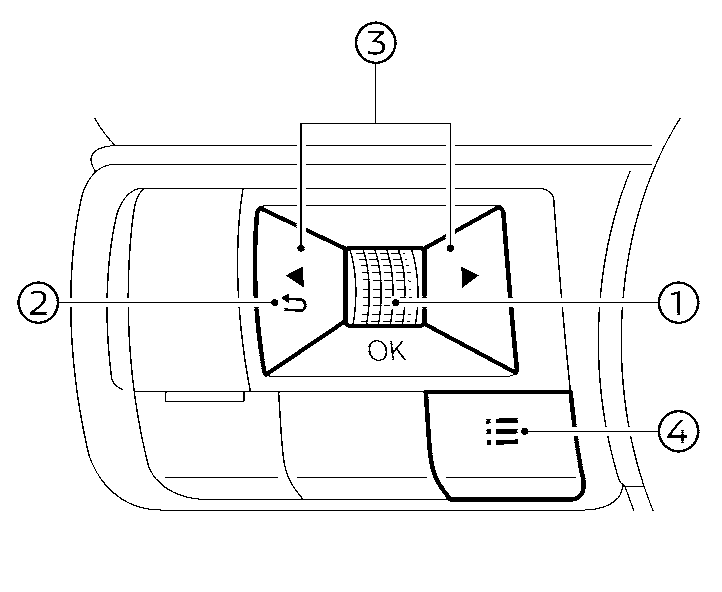
5.5.2. Korzystanie z ekranu informacji o pojeździe

Informacje na ekranie informacji o pojeździe można zmieniać, używając pokrętła przewijania (1),
(2) oraz
(3) na kierownicy.
- Pokrętło przewijania pozwala nawigować po pozycjach i zmieniać lub wybierać pozycje na ekranie informacji o pojeździe
- Pokrętło umożliwia nawigację w górę/w dół i oraz zatwierdzanie poprzez naciśnięcie
— powrót do poprzedniego menu
— przejście do kolejnego ekranu wyświetlacza (przebieg okresowy, zużycie paliwa)
- wyświetlenie ekranu [Menu skrótów]
Instrukcja obsługi dla właścicieli Nissana