Nissan X-Trail 2024 Instrukcja obsługi Nissana
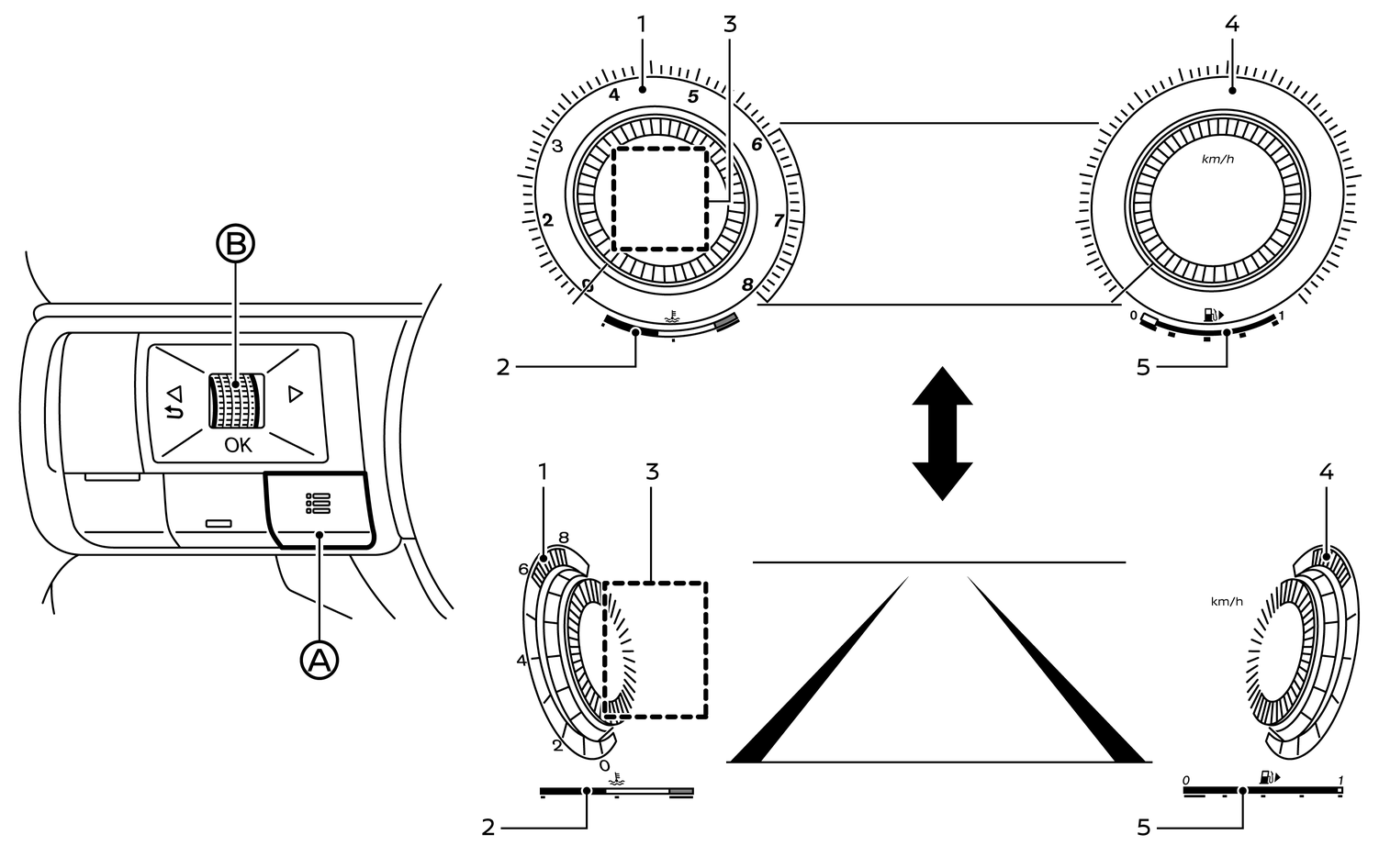
4.3.1.1. Zmiana widoku ekranu wskaźników (modele z wyświetlaczem pełnoekranowym)

- Obrotomierz
- Wskaźnik temperatury płynu chłodzącego silnik
- Wyświetlacz osobisty
- Prędkościomierz
- Wskaźnik paliwa
W modelach z wyświetlaczem pełnoekranowym widok ekranu wskaźników można zmienić, aby rozszerzyć obszar wyświetlania informacji o pojeździe.
Aby zmienić widok ekranu wskaźników:
Naciśnij przycisk menu skrótów (A) po lewej stronie kierownicy.
W obszarze wyświetlania informacji o pojeździe pojawi się [Menu skrótów].
Wybierz opcję [Zmień widok wyświetlacza], obracając pokrętło przewijania (B), a następnie naciśnij je, aby zmienić widok.
Instrukcja obsługi dla właścicieli Nissana