Nissan X-Trail 2024 Instrukcja obsługi Nissana
3.5.1.4. System kurtynowych poduszek powietrznych
System kurtynowych poduszek powietrznych pomaga złagodzić siłę uderzenia w rejonie głowy kierowcy, pasażera na przednim siedzeniu i pasażerów na tylnych zewnętrznych siedzeniach podczas niektórych zderzeń bocznych. Kurtynowe poduszki powietrzne napełniają się po tej stronie, po której dochodzi do uderzenia.
Rolą systemu SRS jest uzupełnienie ochrony, jaką podczas wypadku zapewnia pas bezpieczeństwa, nie został natomiast zaprojektowany po to, aby zastępować pasy bezpieczeństwa. System SRS może uratować życie kierowcy i pasażerów i zmniejszyć ilość poważnych obrażeń. Napełniające się boczne poduszki powietrzne mogą jednak spowodować otarcia lub inne obrażenia. Poduszki powietrzne nie chronią dolnych części ciała. Pasy bezpieczeństwa powinny być zawsze prawidłowo zapięte, a kierowca i pasażer z przodu powinni zajmować swoje miejsca z zachowaniem odpowiedniej odległości od kierownicy, deski rozdzielczej i tapicerki drzwi. (Patrz:
). Poduszki powietrzne napełniają się bardzo szybko w celu ochrony kierowcy i pasażerów. Z tego powodu, jeżeli pasażer znajduje się zbyt blisko poduszki powietrznej podczas jej napełniania, ryzyko odniesienia obrażeń może być większe.Po kolizji czołowe i boczne poduszki powietrzne szybko się opróżniają. Przednia środkowa poduszka powietrzna chroniąca przed uderzeniem bocznym i poduszki kurtynowe pozostaną przez krótki czas napełnione.
System SRS działa tylko wtedy, gdy włącznik zapłonu ustawiony jest na pozycji Acc lub ON (WŁĄCZONY).
Po przełączeniu zapłonu na pozycję ON (WŁĄCZONY), na 7 sekund zaświeci się lampka ostrzegawcza systemu SRS, po czym zgaśnie. Oznacza to, że system SRS działa prawidłowo. (Patrz: ${1}).



Zazwyczaj, w przypadku zderzenia bocznego, tylnego, podczas dachowania lub mniej groźnego zderzenia czołowego, przednie poduszki powietrzne nie napełnią się. Aby zmniejszyć ryzyko odniesienia poważnych obrażeń podczas wszelkiego rodzaju wypadków, zawsze zapinaj pasy bezpieczeństwa.
Pasy bezpieczeństwa i czołowe poduszki powietrzne oferują najskuteczniejszą ochronę, jeśli siedzisz wyprostowany, z plecami przylegającymi do oparcia fotela. Przednie poduszki powietrzne napełniają się z dużą siłą. Jeśli kierowca lub którykolwiek z pasażerów nie jest zapięty pasem bezpieczeństwa, pochyla się do przodu, siedzi bokiem lub jego pozycja w inny sposób odbiega od pozycji prawidłowej, ryzyko odniesienia obrażeń lub śmierci podczas wypadku wzrasta. Kierowca oraz pasażerowie mogą również odnieść poważne lub śmiertelne obrażenia, jeśli znajdują się zbyt blisko napełniającej się czołowej poduszki powietrznej. Zawsze siedź oparty o siedzenie, jak najdalej od kierownicy i deski rozdzielczej jak to praktycznie możliwe. Zawsze zapinaj pasy bezpieczeństwa.
Trzymaj ręce po zewnętrznej stronie kierownicy. Trzymanie ich wewnątrz obręczy kierownicy zwiększa ryzyko odniesienia obrażeń w przypadku napełnienia się czołowej poduszki powietrznej.







Nigdy nie pozwalaj dzieciom na jazdę bez odpowiednich zabezpieczeń ani na wystawianie rąk lub twarzy przez okno. Nie próbuj trzymać ich w ramionach lub na kolanach. Niektóre przykłady niebezpiecznych pozycji podczas jazdy przedstawiono na rysunkach.
Jeśli dzieci nie są prawidłowo zabezpieczone, mogą odnieść poważne obrażenia lub zginąć podczas napełniania się poduszek powietrznych.
Nigdy nie montuj fotelika dla dzieci ustawionego tyłem do kierunku jazdy na przednim fotelu bez upewnienia się, że czołowa poduszka powietrzna pasażera jest wyłączona. Napełniająca się czołowa poduszka powietrzna może poważnie zranić lub zabić dziecko. (Patrz:
).





Zazwyczaj w przypadku zderzenia czołowego, tylnego, podczas dachowania lub mniej groźnego zderzenia bocznego poduszka powietrzna chroniąca przed uderzeniem bocznym, poduszka powietrzna chroniąca przed uderzeniem środkowym-przednim/bocznym oraz poduszki kurtynowe nie napełniają się. Aby zmniejszyć ryzyko odniesienia poważnych obrażeń podczas wypadków, zawsze zapinaj pasy bezpieczeństwa.
Pasy bezpieczeństwa oraz przednia środkowa poduszka powietrzna chroniąca przed uderzeniem bocznym, boczne i kurtynowe poduszki powietrzne oferują najskuteczniejszą ochronę, jeśli pasażer siedzi wyprostowany, z plecami przylegającymi do oparcia fotela. Przednia środkowa poduszka powietrzna chroniąca przed uderzeniem bocznym, boczne poduszki powietrzne oraz kurtynowe poduszki powietrzne napełniają się z dużą siłą. Jeśli kierowca lub którykolwiek z pasażerów nie jest zapięty pasem bezpieczeństwa, pochyla się do przodu, siedzi bokiem lub jego pozycja w inny sposób odbiega od pozycji prawidłowej, ryzyko odniesienia obrażeń lub śmierci podczas wypadku wzrasta.
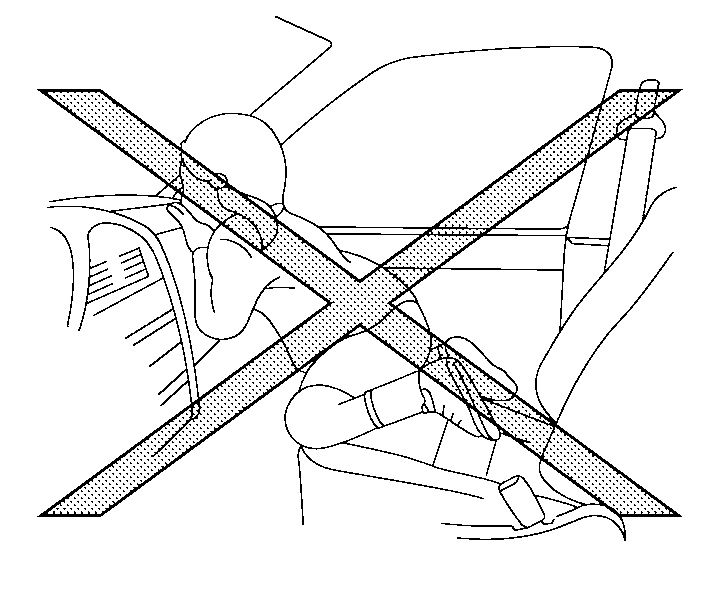
Nie pozwalaj żadnemu z pasażerów na trzymanie rąk, nóg lub twarzy w pobliżu przedniej środkowej poduszki powietrznej chroniącej przed uderzeniem bocznym, bocznych lub kurtynowych poduszek powietrznych znajdujących się na środku oparcia fotela kierowcy, po bokach oparć przednich siedzeń i na bocznych krawędziach sufitu. Nie pozwalaj osobom siedzącym na przednich fotelach oraz zewnętrznych tylnych fotelach na wystawianie rąk przez okno lub opieranie się o drzwi. Niektóre przykłady niebezpiecznych pozycji podczas jazdy przedstawiono na rysunkach.
Siedząc na tylnym siedzeniu nie trzymaj się oparcia przedniego fotela. Jeśli przednia środkowa poduszka powietrzna chroniąca przed uderzeniem bocznym, boczne poduszki powietrzne lub kurtynowe poduszki powietrzne napełnią się, pasażer może zostać poważnie ranny. Zachowaj szczególną ostrożność podczas przewożenia dzieci, które powinny być zawsze prawidłowo zabezpieczone.
Nie zakładaj nieoryginalnych pokrowców na oparcia przednich foteli. Mogą one kolidować z przednią środkową poduszką powietrzną chroniącą przed uderzeniem bocznym lub boczną poduszką powietrzną w przypadku napełnienia.