Nissan X-Trail 2024 Instrukcja obsługi Nissana
4.7.1.3. Pozycja AUTO (automatyczna)
Gdy włącznik zapłonu znajduje się w pozycji ON, a włącznik reflektorów jest ustawiony w pozycji <AUTO>, wówczas reflektory, przednie światła pozycyjne, oświetlenie panelu wskaźników, oświetlenie tylne i oświetlenie tablicy rejestracyjnej włączają się automatycznie w zależności od jasności otoczenia.
Reflektory włączają się automatycznie po zmroku i podczas deszczu (gdy wycieraczka szyby przedniej działa w sposób ciągły).
Gdy włącznik zapłonu zostanie ustawiony w pozycji OFF, światła wyłączą się automatycznie.


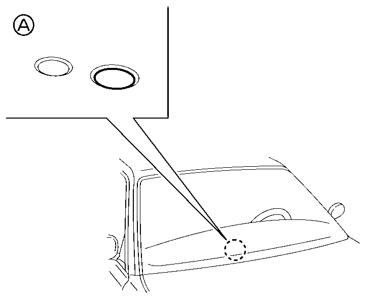
Nie umieszczaj żadnych przedmiotów na czujniku (A). Czujnik wykrywa poziom jasności światła otoczenia i steruje funkcją Intelligent Auto Headlight. Gdy czujnik zostanie zakryty, zareaguje tak, jakby było ciemno i włączą się reflektory.
Układ przedstawiony na rysunku dotyczy modeli z kierownicą po lewej stronie (LHD). W modelach z kierownicą po prawej stronie (RHD) czujnik znajduje się po przeciwnej stronie.