Nissan X-Trail 2024 Instrukcja obsługi Nissana
6.8.1. Automatyczna klimatyzacja (modele bez systemu sterowania z tyłu)

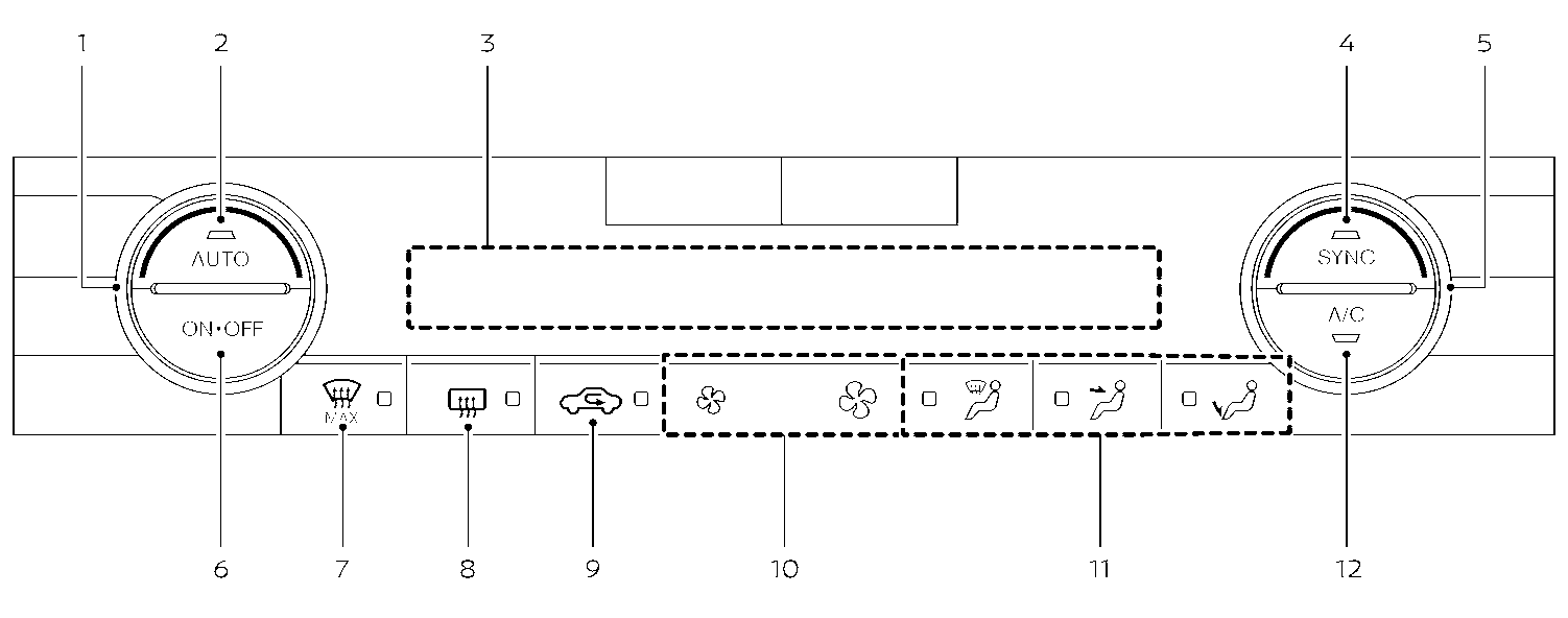
- Pokrętło regulacji temperatury (po stronie kierowcy)
- Przycisk <AUTO> (automatycznie)
- Ekran wyświetlacza
- Przycisk <SYNC> (synchronizacja)
- Pokrętło regulacji temperatury (po stronie pasażera)
- Przycisk <ON・OFF>
-
Przycisk MAX ogrzewania szyby przedniej -
Przycisk ogrzewania tylnej szyby - (Patrz: ).
-
Przycisk recyrkulacji powietrza -
Przyciski sterowania prędkością wentylatora - Przyciski sterowania przepływem powietrza
- Przycisk <A/C> (klimatyzacja)
Układ przycisków może się różnić w zależności od modelu i specyfikacji pojazdu.
Instrukcja obsługi dla właścicieli Nissana